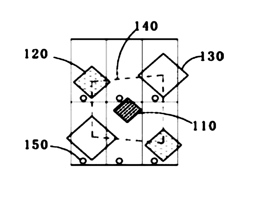
這款產品搭載6.8 英寸AMOLED全面屏,并依然保持了全球領先的最高165Hz刷新率,屏幕供應商也依然是此前獨供紅魔90Hz、144Hz等系列產品的維信諾。值得一提的是,紅魔在發布會中首次提到了使用“晶鉆排列”。根據微博@WHYLAB 曝光的紅魔6S Pro顯微鏡圖片顯示,該手機使用的像素排列與維信諾2016年申請的已授權發明專利CN107887404 B《AMOLED像素結構及顯示裝置》中的像素排列一致,其中2組R和B子像素共同構成一個梯形。
圖 1 紅魔6S Pro像素排列
圖 2 維信諾像素結構專利CN 107887404 B
圖 3 顯微鏡圖片與專利對照
據業內人士分析,這種像素排列擁有82%視覺等效Real RGB的顯示效果,是業內最高水平的視覺像素密度效果,較其他像素排布顯示效果更細膩、更銳利、更均勻。
根據紅魔發布信息顯示,該屏幕采用無挖孔設計,前攝位于屏幕上方,保證游戲時畫面無遮擋,同時具有低藍光認證、屏下指紋識別技術。為滿足游戲操作,屏幕的多指觸控采樣率可達720Hz,也屬目前手機中的最高水平。
性能方面,手機搭載的高通驍龍 888 Plus SoC,超大核主頻可達3.0GHz,同時 AI 算力提升20%,游戲性能更強。手機配備騰訊Solar Core 游戲引擎,針對大量游戲專門調校,保證游戲幀率穩定,具有極速啟動功能。
影像方面,手機 配備了64M像素AI三攝,除了主攝外,還配備了超廣角鏡頭和微距鏡頭。手機配備了雙立體聲揚聲器,通過 DTS:X Ultra 認證,擁有雙 smart PA 功放芯片驅動。
紅魔6S Pro是繼今年紅魔6系列后發布的“加強版”配置產品,憑借165Hz高刷新率和出色的性能,持續保持在電競手機品類的優勢,預計也將成為年度最為暢銷的電競手機。
關注我們
公眾號:china_tp
微信名稱:亞威資訊
顯示行業頂級新媒體
掃一掃即可關注我們